mSklep
Rozwiń nawigację
Hurt Detal Robert Dyl
Znajdź
znajdź numer
samochody osobowe i dostawcze
motocykle
samochody ciężarowe i autobusy
silniki
ostatnio wybrany pojazd
historia wyboru pojazdu
wyszukaj w opisach
kategorie oferty
więcej
Koszyk
Zaloguj
Informacje
O nas
Regulamin
Kontakt
Ustawienia
Znajdź numer
Samochody osobowe i dostawcze
Motocykle
Samochody ciężarowe i autobusy
Silniki
Ostatnio wybrany pojazd
Historia wyboru pojazdów
Wyszukaj w opisach
Kategorie oferty
Więcej
Zadaj pytanie
Pokaż odpowiedniki
Karta produktu
0 986 BB0 980
BOSCH
klocki hamulcowe
0986BB0980_BOS
klocki hamulcowe BB1592
BB1592
Ocena produktu
Kup teraz
Cena
cena netto:
cena z VAT:
detal:
rabat:
-11%
Dostępność
Mag. główny
Towar zamówiony
do 14:00
będzie do odbioru po 15:00
0
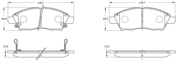
Parametry
Materiał
Semi-Metallic
Grubość [mm]
14,3
Szerokość [mm]
138,4
Wysokość [mm]
48,8
Kody EAN
4047026875829
Kody użytkowe
BB1592
,
D1592
Numery OEM
NISSAN:
41005EM10A
,
D10601HL0A
,
D10601HL0B
,
D1M0601HL0B
Odpowiedniki
BOSCH:
BB1365
ECOPADS:
ECO1521
FRAS-LE:
PD1365
Samochody osobowe
NISSAN:
ALMERA (N17) (2011-09 » )
,
MICRA IV (K13K, K13KK) (2010-05 » )
,
NOTE (E12) (2012-09 » )
,
VERSA II (N17_) (2011-08 » )