93445700_KLSkolbenshmit
Mag. główny0
0
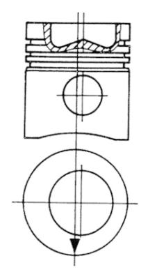
Numer seryjny | 100206 |
Średnica cylindra [mm] | 100 |
Luz tłokowy [mm] | 0,08 |
Wielkość kompresji [mm] | 66,9 |
Długość [mm] | 106,9 |
Głębokość wyżłobienia 1 [mm] | 24 |
Średnica wyżłobienia [mm] | 59,5 |
Numer komponentu | 15410 |
Numer komponentu | 15639 |
Wymiar standardowy [STD] | |
Średnica sworznia [mm] | 38 |
Długość trzpienia [mm] | 82 |
89018150_KLSkolbenshmit
Mag. główny0
0
Informacja uzupełniająca | mokra tuleja cylindrowa |
średnica zewnętrzna [mm] | 110,75 |
Średnica cylindra [mm] | 100 |
Długość [mm] | 216,1 |
Grubość [mm] | 7,72 |
Średnica kołnierza [mm] | 119 |
Wysokość płomienia [mm] | 1,1 |
Przetwarzanie | obrobiony końcowo |
Numer komponentu | 27837 |
Numer komponentu | 27838 |
Średnica pierścienia uszczelniającego [mm] | 4,75 |
27838_KLSkolbenshmit
Mag. główny0
Średnica wewnętrzna [mm] | 109,16 |
Materiał | FPM (fluor-kauczuk) |
Kolor | czarny |
Grubość [mm] | 5 |
27837_KLSkolbenshmit
Mag. główny0
Średnica wewnętrzna [mm] | 109,16 |
Materiał | FPM (fluor-kauczuk) |
Kolor | czarny |
Grubość [mm] | 4,75 |